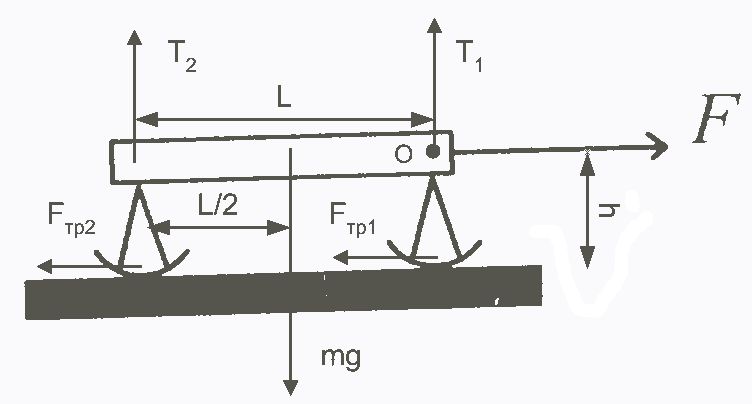
1. Однородную балку длины L и массы m перевозят на двух санях (рис.1). С какой силой F надо тянуть За веревку чтобы сани двигались равномерно? Веревка натянута горизонтально и привязана на высоте h от земли. Коэффициент трения передних саней о дорогу равен µ1, задних — µ2.
2.Коробка массы М стоит на горизонтальном столе. Коэффициент трения между столом и коробкой равен µ. Внутри коробки лежит тело массы m, которое может без трения двигаться по дну коробки. Оно прикреплено к стенке коробки пружиной жесткости k (рис.2). При какой амплитуде колебаний тела m коробка начнет двигаться по столу?
Заранее спасибо!!!
Сообщение отредактировано: Clerick -













