IPB
ЛогинПароль:

> Прочтите прежде чем задавать вопрос!

1. Заголовок темы должен быть информативным. В противном случае тема удаляется ...
2. Все тексты программ должны помещаться в теги [code=pas] ... [/code], либо быть опубликованы на нашем PasteBin в режиме вечного хранения.
3. Прежде чем задавать вопрос, см. "FAQ", если там не нашли ответа, воспользуйтесь ПОИСКОМ, возможно такую задачу уже решали!
4. Не предлагайте свои решения на других языках, кроме Паскаля (исключение - только с согласия модератора).
5. НЕ используйте форум для личного общения, все что не относится к обсуждению темы - на PM!
6. Одна тема - один вопрос (задача)
7. Проверяйте программы перед тем, как разместить их на форуме!!!
8. Спрашивайте и отвечайте четко и по существу!!!

> Односвязный список, формирование
сообщение
Сообщение #1


Пионер
**

Группа: Пользователи
Сообщений: 60
Пол: Мужской
Реальное имя: Никита

Репутация: -  0  +


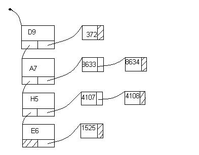
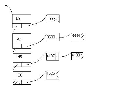
файл исходных данных содержит:

D9 372
A7 8633 8634
H5 4107 4108
E6 1525

список имеет вид:
Прикрепленное изображение


собственно, мне не понятно как такой список сформировать..
натолкните, пожалуйста на мысль..


Эскизы прикрепленных изображений
Прикрепленное изображение
 Оффлайн  Профиль  PM 
 К началу страницы 
+ Ответить 
 
 Ответить  Открыть новую тему 
Ответов
сообщение
Сообщение #2


Гость






Попробуй поиск по слову "мультисписок"... Я как-то выкладывал нечто подобное.
 К началу страницы 
+ Ответить 

Сообщений в этой теме


 Ответить  Открыть новую тему 
1 чел. читают эту тему (гостей: 1, скрытых пользователей: 0)
Пользователей: 0

 





- Текстовая версия 14.04.2026 23:44
500Gb HDD, 6Gb RAM, 2 Cores, 7 EUR в месяц — такие хостинги правда бывают
Связь с администрацией: bu_gen в домене octagram.name