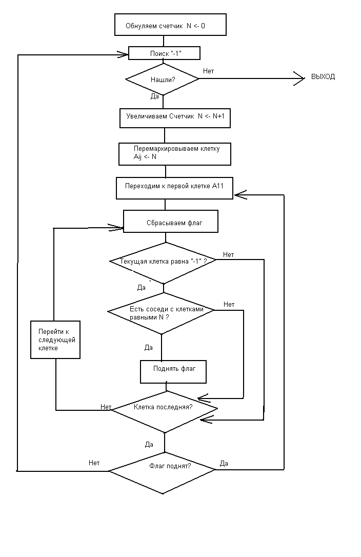
Народ помогите написать программу.
Острова (определить кол-во островов на озере).
Прога частично напоминает морской бой. Задается поле, на нем можно расставлять острова (один квадрат –ик один остров). После расставления островов, прога должна сосчитать их кол-во.














